
3D viewer
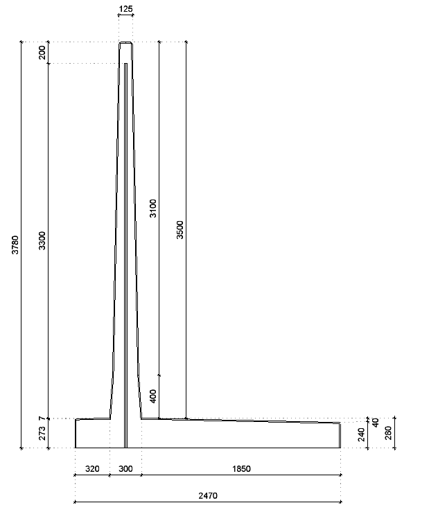
Technical drawing
LA-Retaining walls (Agricultural) - LA350G
The LA retaining walls have been specially developed for agricultural applications, such as silage clamps, biogas clamps, manure clamps, etc. These LA retaining walls are always...
Read more
- Quick to:
- Description
- Specifications.
- Options Request quote
Description
The LA retaining walls have been specially developed for agricultural applications, such as silage clamps, biogas clamps, manure clamps, etc. These LA retaining walls are always equipped with a heel for maximum stability and safety. LA retaining walls are unique, as they are capable of absorbing the substantial compressive and impact forces generated during ensiling and feed-out using heavy shovels and tractors. LA retaining walls are available in 3 variants: LA-S retaining walls for a maximum axle load of 10 tonnes, LA-G retaining walls for a maximum axle load of 15 tonnes and LA-V retaining walls for a maximum axle load of 20 tonnes.
* The foot side is the internal, load-bearing side, where it is possible to ensile up to the rim using heavy shovels or tractors.
* The internal side has a total net height.
* Integrating the foot into the clamp floor ensures that no ensiling height is lost and the storage capacity is easy to calculate.
* The LA retaining walls have a slightly conical shape in both the upright wall section and the foot section to achieve the correct slope.
* They are also equipped with an extra-high bumper as protection against leachate and damage during feed-out.
* The rounded corners prevent the silage film from slipping and/or being damaged.
* If required, lashing straps can be fitted to the outside of the LA retaining walls following placement to allow additional tightening and securing of the silage film.
To complete your clamp, a range of accessories is also available, including leachate tanks, the Bosch Beton gutter and concrete floor slabs.
* The foot side is the internal, load-bearing side, where it is possible to ensile up to the rim using heavy shovels or tractors.
* The internal side has a total net height.
* Integrating the foot into the clamp floor ensures that no ensiling height is lost and the storage capacity is easy to calculate.
* The LA retaining walls have a slightly conical shape in both the upright wall section and the foot section to achieve the correct slope.
* They are also equipped with an extra-high bumper as protection against leachate and damage during feed-out.
* The rounded corners prevent the silage film from slipping and/or being damaged.
* If required, lashing straps can be fitted to the outside of the LA retaining walls following placement to allow additional tightening and securing of the silage film.
To complete your clamp, a range of accessories is also available, including leachate tanks, the Bosch Beton gutter and concrete floor slabs.
Downloads
- LA350G_EN.pdf
- LA350G.dwg
- LA350G.ifc
- LA_LoadSchedule_UK.pdf
- Certificates
- KOMO_attest-met-productcertificaat_Agrarische betonproducten 17-05-2019_K23856-12.pdf
- NL_BSB_productcertificaat_vooraf-vervaardigde-betonproducten_17-05-2019_K85568-03.pdf
- CPR_conformiteitscertificaat-van-de-productiecontrole-in-de-fabriek_17-05-2019_CPR-56074-05.pdf
- CSC-certificaat Goud 141-CSC19-2019.pdf
- Übereinstimmungszertifikat Stahlbetonfertigteile als Teil von Fahrsilos 1329.1.2146-2.pdf
- Zertifikat über die Konformität der werkseigenen Produktionskontrolle (CE) 0793-CPR-1329.6.967-1.pdf
- Zertifikat über die verwendbarkeit in Bauwerken 1329.7.119-1.pdf
- Gütezeichen-Urkunde 1329-M-2020.pdf
- Übereinstimmungszertifikat Beton nach Eigenschaften 1329.1.2040.-1.pdf
- KOMO_productcertificaat_bouwelemten-van-beton_10-7-2023_K2663-12.pdf
- DoP keewanden EN 01202010 signed.pdf
Specifications.
Concrete mixture | 2nd Generation self-compacting C60/75 | Reinforcement steel | B500 |
---|---|---|---|
Weight | 7910kg (L = 3995mm) | Concrete cover | 30mm |
Dimensional tolerance | +/- 5mm | Concrete surface finish | All visible sides class A (B1 on request) |
Hoisting device | None, to be placed with clamp | Product warranty | 15 years |
Environmental class | XA3, XC4, XD3, XS3, XF4 | Design life | 50 years (XA3, XD3, XS3) / 100 years (XC4, XF4) |
Extra options
Shortening and other adaptations

Partitioning wall connector

U wall connector

Drainage

Bevelling

Standard corner solution


Standard corner solution
A standard 90° corner solution is available for all our types of retaining wall. If you require a different angle, we can create a custom corner solution.
If you send us a sketch of your situation, we will design the corner solution for you. That way you can be certain of getting a custom solution that is right for you.
If you send us a sketch of your situation, we will design the corner solution for you. That way you can be certain of getting a custom solution that is right for you.
-
We like to work sustainably, also when it comes to supplying custom products. Tell us about your needs in good time and we will take your adaptation into account from the outset during production. That way we can avoid unnecessary wastage of materials or unnecessary sawing work afterwards.
-
If unavoidable concrete waste is generated while we are adapting a wall, we recycle it and reuse it during our production process.

Shortening and other adaptations
If required, the retaining walls can be shortened, adapted or supplied with custom recesses. For example, our retaining walls can be equipped with special cast-in elements, such as conduits, lifting anchors or starter bars (protruding reinforcing bars for connecting adjoining concrete components). The retaining walls can also be supplied with a thicker top edge, to allow installations on top of the retaining wall, or with a special relief.
If you send us a sketch of your situation, we will design the adaptation for you. That way you can be certain of getting a custom solution that is right for you.
If you send us a sketch of your situation, we will design the adaptation for you. That way you can be certain of getting a custom solution that is right for you.
-
We like to work sustainably, also when it comes to supplying custom products. Tell us about your needs in good time and we will take your adaptation into account from the outset during production. That way we can avoid unnecessary wastage of materials or unnecessary sawing work afterwards.
-
If unavoidable concrete waste is generated while we are adapting a wall, we recycle it and reuse it during our production process.

Partitioning wall connector
Partitioning walls can be easily combined with other wall types, e.g. in the case of a storage system or silage clamp from which any moisture leakage has to be prevented. To ensure this is the case, it is important that the partitioning wall has the correct shape at the connection point so it can be joined perfectly to the other wall.
If you send us a sketch of your situation, we will design the corner solution for you. That way you can be certain of getting a custom solution that is right for you.
If you send us a sketch of your situation, we will design the corner solution for you. That way you can be certain of getting a custom solution that is right for you.
-
We like to work sustainably, also when it comes to supplying custom products. Tell us about your needs in good time and we will take your adaptation into account from the outset during production. That way we can avoid unnecessary wastage of materials or unnecessary sawing work afterwards.
-
If unavoidable concrete waste is generated while we are adapting a wall, we recycle it and reuse it during our production process.

U wall connector
U walls can be easily combined with other wall types, e.g. in the case of a storage system or silage clamp from which any moisture leakage has to be prevented. To ensure this is the case, it is important that the U wall has the correct shape at the connection point so it can be joined perfectly to the other wall.
If you send us a sketch of your situation, we will design the corner solution for you. That way you can be certain of getting a custom solution that is right for you.
If you send us a sketch of your situation, we will design the corner solution for you. That way you can be certain of getting a custom solution that is right for you.
-
We like to work sustainably, also when it comes to supplying custom products. Tell us about your needs in good time and we will take your adaptation into account from the outset during production. That way we can avoid unnecessary wastage of materials or unnecessary sawing work afterwards.
-
If unavoidable concrete waste is generated while we are adapting a wall, we recycle it and reuse it during our production process.

Drainage
Cast-in drainage is available for our agricultural LA retaining walls, specifically for silage clamps with a lateral slope. Thanks to the removable coloured cover, the gutter can be switched, depending on the situation, between clean (blue) and contaminated (red) water. Depending on the situation, the user can switch the drainage at any time simply by turning the cover around.
On the outside this drainage can be connected to a pipe system to create a connection to a leachate tank/manure cellar or, in the case of clean water, to a ditch.
If you send us a sketch of your situation, we will design the drainage for you. That way you can be certain of getting a custom solution that is right for you.
On the outside this drainage can be connected to a pipe system to create a connection to a leachate tank/manure cellar or, in the case of clean water, to a ditch.
If you send us a sketch of your situation, we will design the drainage for you. That way you can be certain of getting a custom solution that is right for you.
-
We like to work sustainably, also when it comes to supplying custom products. Tell us about your needs in good time and we will take your adaptation into account from the outset during production. That way we can avoid unnecessary wastage of materials or unnecessary sawing work afterwards.
-
If unavoidable concrete waste is generated while we are adapting a wall, we recycle it and reuse it during our production process.

Bevelling
Standard bevelling, with a cutting line running from the halfway point of the height to the halfway point of the length, is available for all our retaining walls. The last wall of a storage system or silage clamp may be bevelled to improve visibility, for example.
If you would like different bevelling, or bevelling that runs across several elements, we can create custom bevelling to meet your needs.
If you send us a sketch of your situation, we will design the bevelling for you. That way you can be certain of getting a custom solution that is right for you.
If you would like different bevelling, or bevelling that runs across several elements, we can create custom bevelling to meet your needs.
If you send us a sketch of your situation, we will design the bevelling for you. That way you can be certain of getting a custom solution that is right for you.
-
We like to work sustainably, also when it comes to supplying custom products. Tell us about your needs in good time and we will take your adaptation into account from the outset during production. That way we can avoid unnecessary wastage of materials or unnecessary sawing work afterwards.
-
If unavoidable concrete waste is generated while we are adapting a wall, we recycle it and reuse it during our production process.